SEMEM_RFS(Ex)本安防爆流量开关
1. RFS(Ex)型本安防爆管道流量开关 概述:
RFS(Ex)型本安防爆管道流量开关是一种流速监测产品,当流速达到设定的流速值时,发出检测信号,经计算机进行报警或启动连锁保护系统,保护关键设备,及时制止突发事故。
防爆热式流量传感器利用热扩散原理,能在恶劣的工业条件下长期可靠工作,是目前世界上许多发达地区广泛应用的管道流量开关,具有传统热式流量传感器不具备的优异性。

2. RFS(Ex)型本安防爆管道流量开关 原理:
RFS管道热式流量传感器由两个温度传感器、电源、信号处理器及输出继电器或NPN/PNP晶体管输出组成。该温度传感器使用优良半导体制造,物理特性非常接近,且以距离相互分离,传感器配对跟踪介质的温度。将其中的一个传感器(Sensor1)进行加热,使其高于介质温度。另一个传感器(Sensor2)与介质温度相同,我们基准传感器。故通过测量两个传感器的电压差,可知介质此时的流速,从而通过计算知道介质的流量。

3. RFS(Ex)型本安防爆管道流量开关 特点:
1.无压力损失
优良半导体探头尺寸很小,对流体没有压力损失。
2. 全直通的流动管道
在不影响流量的条件下实施在线监控,避免生产事故。
3.极宽的流量范围
对流体流速敏感,可以配接不同的管径,监控不同的流速。
4.适用多种流体介质
既能用于气体,也可用于液体,如水、油等流量监控。
5. 简明直观的指示
电源指示和流量状态指示,直观显示当前管道中流量状态。
6. 高可靠性
集成生产的传感部件和控制电路,传感部分无机械运动,驱动部分选用高品质的继电器,可靠性提高。
4. RFS(Ex)型本安防爆管道流量开关 防爆标准:
* 热式流量传感器符合GB3836.1-2000《爆炸性气体环境用电气设备 第1部分:通用要求、第4部分:本质安全型“i”》标准,防爆标志为:EXiaIICT6,经防爆检测中心检验合格,并取得防爆合格证。适用于含有0区、1区、2区,含有IIA~IIC类的T1~T6爆炸性气体混合物场所。
* 防爆标识:ExiaIICT6
5. RFS(Ex)型本安防爆管道流量开关 技术参数:
* 工作电压:24VDC
* 工作电流:≤60mA
* 内部电容:Ci 100pF
* 输 出:继电器(SPDT/DPDT),开关电压≤28VDC,开关电流≤0.1A
* 介质温度范围:- 50℃ - +100℃
* 工作环境温度范围:- 20℃ - +80℃
* 流量工作点范围(可调):0.03-10m/s(标准介质:水)
* 开关特性:典型3秒(1-12秒)
开时间,典型3秒(1-12秒);关时间,典型3秒(1-12秒)
* 温度变化响应时间:10秒
* 温度梯度:250℃/min
* LED指示:红灯亮,电源正常;红灯灭,电源不工作;
绿灯灭,流速低于设定值;绿灯亮,流速等于或大于设定值
* 探头材料:不锈钢或者铜由用户选择
* 外壳材料:铝合金
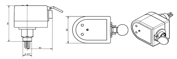
* 安装连接:G1/2”螺纹,扭矩100Nm(也可根据用户制造)
* 防爆标识:ExiaⅡCT6
* 防护等级:IP65
* 随机附带:专用电气插头1套
* 常用型号:RFS-D-010ExH,输入电源DC24V,输出触点28VDC 0.1A,耐压等级10.0MPa
6. RFS(Ex)型本安防爆管道流量开关 外形尺寸:
7. RFS(Ex)型本安防爆管道流量开关 安装使用:
* 流量开关与介质管道的连接形式为G1/2”螺纹(可根据用户要求提供其它螺纹连接),可直接插入管道(管径D大于1”),也可通过三通连接管道(管径D小于或等于1”),更换快捷、方便、简单。
* 为了避免由于气穴产生的错误信号,请不要将流量开关装在弯管或者装在管道头附近(距离>2倍管径)。
* 如果流量开关必需水平安装,并且管道没有充满介质,流量开关应如下图1安装。
* 如果流量开关必需水平安装,并且管道中可能存在沉淀物。流量开关应该安装在管道的侧面。
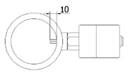
* 安装时要保证探头部分进入介质深度10mm.
* 安装时,不要用力旋转流量开关的中间部位,请用合适的工具旋六方处进行安装,否则将会损坏流量开关。








